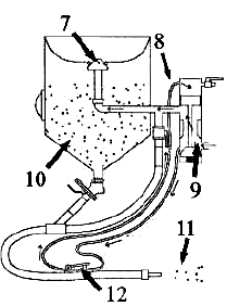
| 1. |
Täytä kuvan 1. taulukko. |
|
| a) Pop-up venttiili auki,
rae valuu kelloon |
|
| b) Estää roskien pääsyn
kelloon |
|
| c) Ohjausilma poistuu
aukosta, kello ei toimi |
|
| d) Rakeet palautuvat
kierrosta tänne |
|
| e) Ohjausilman tulo
kahvalle |
|
| f) Venttiili kiinni, paine
ei pääse kelloon |
|
|
|
2. |
Täytä kuvan 2. taulukko. |
|
| a) Ilma- aukko suljettu,
kello toiminnassa |
|
| b) Tuleva ohjausilma painaa
jousen alas |
|
| c) Kiinni kun kello
paineellinen |
|
| d) Säiliö paineellinen |
|
| e) Rakeet ja ilma ulos
suuttimesta |
|
| f) Pääventtiili auki,
ilma pääsee kelloon |
|
|
|
3. |
Täytä kuvan 3. taulukko |
|
| a) Ilma-aukko. Kun auki, kello ei toimi |
|
| b) Kumitulppa, joka sulkee
ilma-aukon |
|
| c) Tulo- ja menoilmojen
liitännät |
|
| d) Liipaisimen varmistin.
Jousi pitää ylhäällä |
|
|
|
| Kuva 1.
Suihkupuhdistuskellon täyttövaihe |
|

|
| Kuva 2.
Suihkupuhdistuskello toiminnassa |
|

|
| Kuva 3.
Suihkupuhdistuskahva |
|

|
|